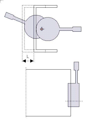
. Dołączanie i odłączanie napędu od koła napędowego umożliwia sprzęgło mimośrodowe, którego zasadę działania pokazuje rysunek. Kółko sprzęgła ma oś obrotu nieco z boku osi geometrycznej koła przez co obrót koła sprzęgła powoduje, że płaszczyzna tego koła przesuwa się z obrotem dając łączne przesunięcie L wystarczające do odsunięcia śruby napędowej od koła napedu. W rzeczywistości koło sprzęgła jest walcem z zamocowaną niesymetrycznie na powierzchni bocznej walca rączką ułatwiającą przestawienie sprzęgła. Walec sprzęgła działa częścią swojej powierzchni bocznej na kątownik mechanizmu napędowego a niesymetria w umieszczeniu rączki powoduje, że nie ma kolizji elementów w czasie obracania sprzęgła. |
![]() |
|
W praktycznym wykonaniu sprzęgła walec sprzęgła zamocowany jest na specjalnym wsporniku. Na tym zdjęciu sprzęgło ustawione jest w pozycji umożliwiajacej zasprzęglenie śruby napędowej z kołem. |
![]() |
|
| Na tym zdjęciu sprzęgło ustawione jest w drugim skrajnym położeniu, które odwodzi profil aluminiowy odłączając śrubę napędową od koła. Na obu zdjęciach widoczna jest też sprężyna powrotna dociskająca mechanizm napędowy do koła w trakcie pracy urządzenia. | ![]() |
|